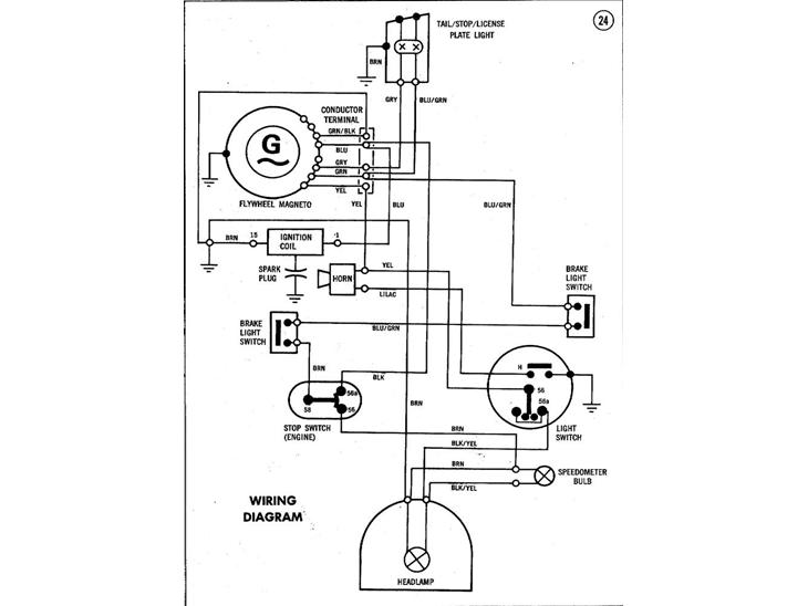
Ledningsdiagram Puch Maxi
18.473 visninger
|
Oprettet:
Til - ToBeN -

Ledningsdiagram Puch Maxi
feb 2009
Følger: 66 Følgere: 65 Scootere: 11 Emner: 105 Svar: 312